
WREK-440防爆鎧裝熱電偶(固定法蘭帶隔爆接線盒)簡介
WR系列工業用隔爆或本安型熱電偶是一種溫度傳感器,在化學工業自控系統中應用極廣,通過溫度傳感器,可將控制對象的溫度參數變成電信號,傳遞給顯示、記錄和調節儀表,對系統實行檢測、調節和控制。在化工廠,生產現場常伴有各種易燃、易爆等化學氣體、蒸汽,如果使用普通的熱電偶非常不安全,極易引起環境氣體爆炸。因此,在這些場合必須使用隔爆或本安型熱電偶作溫度傳感器,上海自動化儀表三廠生產的隔爆或本安型熱電偶產品適用在dⅡBT4~dⅡCT6、ibⅡBT4、iaⅡBT4、iaⅡCT6溫度組別區間內具有爆炸性氣體危險的場所內。
隔爆或本安型熱電偶技術性能符合JB/T9238-1999工業熱電偶技術條件和GB/T16839.1-1997、GB/T16839.2-1997工業熱電偶分度表及允許誤差,同時產品均符合爆炸性環境用防爆電氣設備通用要求GB3836.1-2000、GB3836.2-2000標準,由國家級儀器儀表防爆安全監督檢驗站對產品的圖樣、技術文件、樣機進行專門審定和批準,并發給防爆合格證。
目前上海自動化儀表三廠生產的工業用隔爆熱電偶有鎳鉻-鎳硅(K型)和鎳鉻-銅鎳(E型)兩種。本安型熱電偶必須使用本安補償導線,其分布參數控制范圍:總電感量≤2mH,電容量≤0.06μf,同時使用關聯設備安全柵,關聯設備的選用按下列原則,熱電偶(必須是絕緣式)配低內阻二次儀表時,選用MTL75/acZ605/EX、LB95/ac,配高內阻二次儀表時,選用MTL760/ac,Z960/ac,LB960/ac安全柵,安全柵的具體接線見制造廠的說明書。
WREK-440防爆鎧裝熱電偶(固定法蘭帶隔爆接線盒)主要技術參數
◆測量范圍:0-600℃
◆分度號:E分度
◆精度等級:Ⅰ級(±1.5℃或±0.004|t|)Ⅱ級(±2.5℃或±0.0075|t|)
◆熱電偶類別:鎳鉻-銅鎳
◆保護管材質:不銹鋼(304或321)其它請注明
◆熱響應時間:T0.5≤8S(在溫度出現階躍變化時,熱電偶的輸出變化至相當于該階躍變化的50%所需的時間,稱為熱響應時間,用T0.5表示)。
◆公稱壓力:一般是指在常溫下,保護管所能承受的靜態外壓而不破裂,試驗壓力一般采用公稱壓力的1.5倍。實際上,允許公稱壓力不僅與保護管材料、直徑、壁厚有關,而且還與其結構形式、安裝方法、置入深度以及被測介質的流速、種類有關。
◆熱電偶絕緣電阻:常溫絕緣電阻的試驗電壓為:直流500±50V。測量常溫絕緣電阻的大氣條件為:溫度15~35℃,相對濕度45%,大氣壓力86-106kpa。
對于長度超過1米的熱電偶,它的常溫絕緣電阻值與其長度的乘積應不小于100MΩ.m。
對于長度等于或不足1米的熱電偶,它的常溫絕緣電阻值應不小于100MΩ。
◆鎧裝熱電偶(絕緣式)的絕緣電阻:在環境溫度為20±15℃相對濕度不大于80%時,熱電極與外套管之間的絕緣電阻應大于等于100MΩ.m(即為常溫絕緣電阻與鎧裝熱電偶長度的乘積),試驗電壓為直流500V。
◆防爆類型和級組
防爆級組:dⅡBT4或dⅡCT4;dⅡBT6或dⅡCT6
本安級組:iaⅡBT4或iaⅡCT4(多對式);iaⅡBT6或iaⅡCT6(多對式)
◆外殼防護等級:IP65
◆防爆標志、類別、級別、和溫度組別說明:
防爆標志:隔爆型(d);本安型(ia)
電氣設備類別:I類-煤礦井下用電氣設備;II類-工廠用電氣設備
防爆級別:隔爆型、本安型熱電偶的防爆等級適用于爆炸性氣體混合物最大安全間隙或最小點燃電流比分為A、B、C、三級。
◆溫度組別:隔爆型、本安型熱電偶的溫度組別按其外露部分允許最高表面溫度分為T1~T6(T1=450℃,T2=300℃,T3=200℃,T4=135℃,T5=100℃,T6=85℃)六組。
隔爆型、本安型熱電偶原理結構
隔爆或本安熱電偶與裝配式熱電偶的結構、原理基本相同,所區別的是,隔爆或本安型產品接線盒(外殼)在設計上采用防爆特殊結構,接線盒用高強度鋁合金壓鑄而成,并具有足夠的內部空間、壁厚和機械強度,橡膠密封圈的熱穩定性均符合國家防爆標準。所以,當接線盒內部的爆炸性混合氣體發生爆炸時,其內壓不會破壞接線盒,而由此產生的熱能不能向外擴散一傳爆。
由于產品采用上述防爆特殊結構,使產品完全符合使用在dⅡBT4至dⅡCT6、ibIIBT4、iaIIBT4、iaIICT6防爆類別范圍內,只要用戶嚴格遵守產品使用規則,產品就能達到可靠的防爆效果。
隔爆型、本安型熱電偶使用選型

型號舉例:
WRNK-440表示K分度固定法蘭隔爆式接線盒,保護管直徑5-8mm的鎧裝防爆熱電偶,可為雙支
WREK-440表示E分度固定螺紋隔爆式接線盒,保護管直徑5-8mm的防爆鎧裝熱電偶,可為雙支
另外訂購時還需提供插深,使用溫度及材質等參數
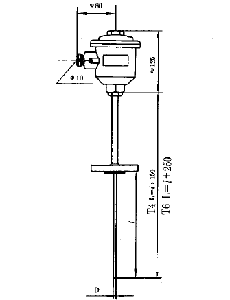
安裝圖片
◆WREK-440防爆鎧裝熱電偶(固定法蘭帶隔爆接線盒)(D=5-8mm,法蘭外徑95,中心距65)



客服1