運用簡介
上海自動化儀表三廠WRP-430固定法蘭防水式熱電偶可以直接測量各種工業生產過程中從0℃~1600℃范圍內的液體、氣體、蒸汽及固體表面的溫度,并把溫度信號轉換成熱電動勢信號,通過二次儀表轉換成被測介質的溫度。在實際應用中熱電偶有多種結構方式,但工作原理都是一樣的,因其結構簡單、制造方便、測溫范圍廣、精度高、慣性小和輸出信號便于遠傳等優點,所以在工業生產過程中得到極為廣泛的運用。
技術參數
◆測量范圍:0-1600℃
◆分度號:S分度
◆精度等級:Ⅰ級(±1.5℃或±0.0025|t|)
◆熱電偶類別:鉑銠10-鉑
◆接線盒類型:防水式接線盒
◆保護管材質:高鋁質或剛玉質
◆保護管直徑:16mm
◆保護管插深:l=150-1500mm
◆熱響應時間:T0.5<150S(在溫度出現階躍變化時,熱電偶的輸出變化至相當于該變化的50%,所需要的時間稱為熱響應時間,用T0.5表示)
◆熱電偶公稱壓力:常壓(一般是指在室溫情況下保護管所能承受的靜態外壓而不破裂)
◆熱電偶標稱流速:無
◆熱電偶絕緣電阻(常溫):常溫絕緣電阻的試驗電壓為直流500V±50V,大氣條件為溫度15~35℃,相對濕度45%,大氣壓力86~106kPa,它的常溫絕緣值應≥100MΩ。
◆執行標準:JB/T9238-1999
工作原理
當有兩種不同的導體,其兩端相互焊接時,兩結點處的溫度不同,一端溫度為測量端或工作端,另一端溫度為自由端或冷端,當兩端溫度存在溫差時,就會在回路時產生熱電流,配上顯示儀表,儀表上就能顯示出熱電偶所產生的熱電動勢的對應溫度值。熱電偶的熱電動勢將隨著測量端或工作端的溫度升高而增長,熱電偶的熱電動勢的大小只和導體材質及兩端溫差有關,和導體的長度、直徑無關。
使用選型

型號舉例:
WRP-430表示S分度固定法蘭帶防水式接線盒,保護管直徑16mm的鉑銠裝配式熱電偶,可為雙支。
WRP-431表示S分度固定法蘭帶防水式接線盒,保護管直徑25mm的鉑銠裝配式熱電偶,可為雙支。
WRP-420表示S分度固定法蘭帶防濺式接線盒,保護管直徑16mm的鉑銠裝配式熱電偶,可為雙支。
WRP-421表示S分度固定法蘭帶防濺式接線盒,保護管直徑25mm的鉑銠裝配式熱電偶,可為雙支。
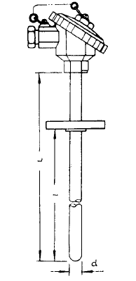
安裝圖片
WRP-430固定法蘭防水式熱電偶
d=16mm L=l+150mm
法蘭外徑115中心距85或根據用戶需要



客服1